由于
油冷式電動滾筒結構合理,因此它有著高的運行效率+使用方便。并且很多功能之所以能夠較快發揮出來,也和它的結構有關系。根據下面提供的油冷式電動滾筒結構圖,將會對其結構做出詳細地解析(注:下面的標號分別對應著以下部件):
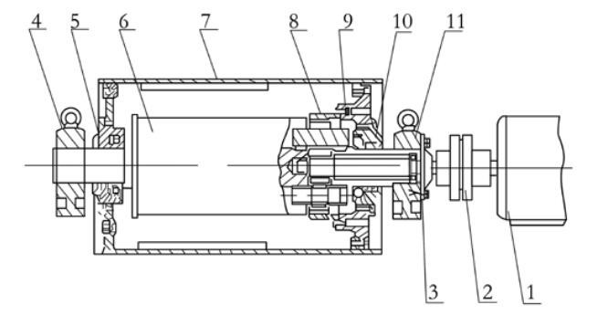
油冷式電動滾筒結構圖如下:

1、電機:是電動滾筒的主要組成部分。
2、聯軸器或偶合器:作為一種安全裝置,防止油冷式電動滾筒承受過大的載荷,起到過載保護的作用。
3、小透蓋:固定軸承,密封保護,防止電動滾筒進入雜質。
4、左支座:用來支承和固定滾筒。
5、左軸承座:它位于左側,可以接受綜合載荷,有軸承的地方就要有支撐點。
6、左法蘭軸:實現軸與軸之間相互連接。
7、滾筒體:圓柱形,當油冷式電動滾筒啟動時,它快速轉動。
8、減速器:能夠控制速度。匹配轉速和傳遞轉矩。
9、右端蓋:它安裝在電動滾筒后面的一個后蓋。
10、右軸承座:它位于右側,功能同左軸承座。
11、右支座:它的功能同左支座。
油冷式電動滾筒基本上有以上幾部分組成,結構合理,操作方便,在各個輸送機,電動機等設備使用廣泛,整體運行較好比較平穩放心,型號多樣,是諸多機器需要用到的一種滾筒設備。